
| № поз | Каталоговий номер | Назва | |
|---|---|---|---|
| 11.3515310 | Клапан захисний четирехконтурний в зборі | Передзвоніть нам (067) 473-90-09 | |
| 11.3515450 | Клапан | Передзвоніть нам (067) 473-90-09 | |
| 11.3515451 | Шайба | Передзвоніть нам (067) 473-90-09 | |
| 12.3520097 | Заклепка 2,5х5 | Передзвоніть нам (067) 473-90-09 | |
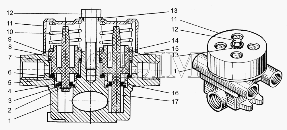
| 1 | 11.3515420 | Корпус | Передзвоніть нам (067) 473-90-09 |
| 2 | ДКРНМ 1,0 Л63 | Дріт | Передзвоніть нам (067) 473-90-09 |
| 3 | 11.3515423 | Шайба | Передзвоніть нам (067) 473-90-09 |
| 4 | 11.3515434 | Клапан | Передзвоніть нам (067) 473-90-09 |
| 5 | 11.3515436 | Втулка | Передзвоніть нам (067) 473-90-09 |
| 6 | 11.3515422 | Сідло | Передзвоніть нам (067) 473-90-09 |
| 7 | 100-3514028 | Кільце 20,3х2,4 | Передзвоніть нам (067) 473-90-09 |
| 8 | 11.3515430 | Поршень | Передзвоніть нам (067) 473-90-09 |
| 9 | 11.3515452 | Прокладка | Передзвоніть нам (067) 473-90-09 |
| 10 | 11.3515428 | Пружина | Передзвоніть нам (067) 473-90-09 |
| 11 | 11.3515424 | Кришка | Передзвоніть нам (067) 473-90-09 |
| 12 | 201505 | Болт М10х1,5х45 | Передзвоніть нам (067) 473-90-09 |
| 13 | 11.3515418 | Шайба ущільнююча | Передзвоніть нам (067) 473-90-09 |
| 14 | 11.3515427 | Шайба регулювальна | Передзвоніть нам (067) 473-90-09 |
| 15 | 11.3515426 | Поршень | Передзвоніть нам (067) 473-90-09 |
| 16 | 11.3515439 | Пружина клапана | Передзвоніть нам (067) 473-90-09 |
| 17 | 11.3515431 | Направляюча | Передзвоніть нам (067) 473-90-09 |