
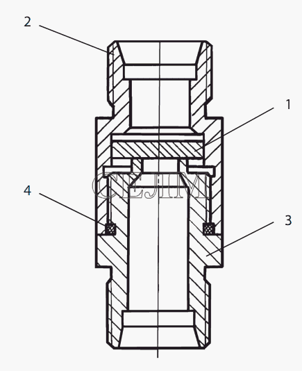
| № поз | Каталоговий номер | Назва | |
|---|---|---|---|
| 1 | ТО-2829.20.003 | Шайба | Передзвоніть нам (067) 473-90-09 | 
| 2 | ТО-28А78.00.121 | Корпус | Передзвоніть нам (067) 473-90-09 | 
| 3 | ТО-28А78.00.122 | Штуцер | Передзвоніть нам (067) 473-90-09 | 
| 4 | 030-035-30-2-2 | Кільце | Передзвоніть нам (067) 473-90-09 |