
| № поз | Каталоговий номер | Назва | |
|---|---|---|---|
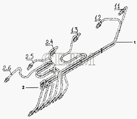
| 1 | C3925324 | Комплект паливних трубок високого тиску | Передзвоніть нам (067) 473-90-09 |
| 1 | C3925324 (1) | Паливна трубка високого тиску | Передзвоніть нам (067) 473-90-09 |
| 1 | C3925324 (2) | Паливна трубка високого тиску | Передзвоніть нам (067) 473-90-09 |
| 1 | C3925324 (3) | Паливна трубка високого тиску | Передзвоніть нам (067) 473-90-09 |
| 2 | C3966996 | Комплект паливних трубок високого тиску | Передзвоніть нам (067) 473-90-09 |
| 2 | C3966996 (4) | Паливна трубка високого тиску | Передзвоніть нам (067) 473-90-09 |
| 2 | C3966996 (5) | Паливна трубка високого тиску | Передзвоніть нам (067) 473-90-09 |
| 2 | C3966996 (6) | Паливна трубка високого тиску | Передзвоніть нам (067) 473-90-09 |